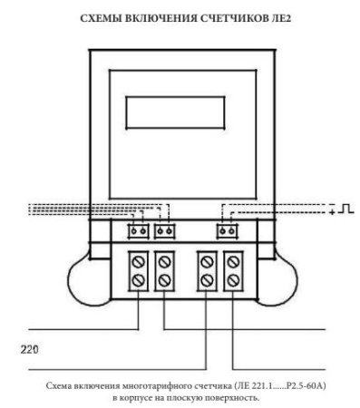
Характеристики
Количество фаз
—
1
Номинальный(максимальный) ток, А
—
5(60)
Количество тарифов
—
многотарифный
Тип индикатора
—
ЖКИ
Тип крепления
—
3 винта
Тип учёта электроэнергии
—
активная
Все характеристики
В корзину
Купить в 1 клик
Наличие уточняйте у наших менеджеров
Характеристики
Количество фаз
1
Номинальный(максимальный) ток, А
5(60)
Количество тарифов
многотарифный
Тип индикатора
ЖКИ
Тип крепления
3 винта
Тип учёта электроэнергии
активная
Климатическое исполнение
У3
Габаритные размеры ДхШхВ, мм
177×, 113×, 49
Масса, кг
0.5
